bieżąca lokalizacja: Dom » Aktualności » Części do kosiarek rotacyjnych

Części do kosiarek rotacyjnych

Liczba wyświetleń:467     Autor:Edytuj tę stronę     Wysłany: 2020-06-01      Źródło:Ta strona

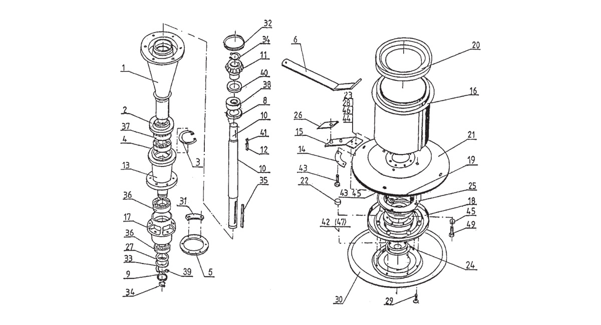
części do kosiarek rotacyjnychuklad-zawieszenie

Polskie kosiarki rotacyjne są szeroko stosowane w Polsce, Rosji, Ukrainie, Rumunii i wielu innych krajach europejskich, a wiele gigantycznych marek produkuje obecnie tego typu maszyny, jak Wirax, Kowalski, Famarol, UNIA, Lisicki itp. I prawie wszystkie. części zamiennych są powszechnie stosowane, takie jak koła pasowe, wał, koła zębate itp.

Jeśli szukasz części do kosiarek rotacyjnych, to dobrze trafiłeś, zaczynamy od produkcji przekładni stożkowych na rynek polski od 2012 roku, a następnie rozszerzyliśmy naszą ofertę o koła pasowe odlewane, piasty, wały, talerze i prawie pełna gama części zamiennych stosowanych w polskich kosiarkach rotacyjnych.

Przejrzyj naszą ofertę, aby odkryć wiele opcji w tych podstawowych częściach, aby zapewnić płynne życie w gospodarstwie.

Naszym celem jest znalezienie potrzebnych części do kosiarek rotacyjnych i ich zakup z pewnością.

korpus-ramy-glowneiuklad-napedui

Nasz asortyment obejmuje:

5036010660Mała przekładnia stożkowa

5036010670Big Bevel Gear

5036010250Mały bloczek

5036020180Duży bloczek

5036020170Kierowca

5036010180Obudowa łożyska

5036010190Mała obudowa łożyska

5036010270Centrum

5036010280Tylna rejestracja

5036020600Wał wielowypustowy

5036010351Długi wał napędowy

5036010260Wał

5036010611Wał

5036010720Osłona bębna

5036010740Drum Hub

5036010790Centrum pracy

5036010770Płyta piasty

5036010640Rama

5036010370Płyta robocza

5036010520Płyta przesuwna

5036010340Płyta oporowa

5036010360Osłona bębna

5036010300/1 Uchwyt

5036010450Nóż


Dom
Copyright © Jinan Heli Transmission Technology Co., Ltd Wszelkie prawa zastrzeżoneMapa serwisu| Projekt strony internetowej :Sdzhidian